Navigation
Home
About Us
Product
Briquetting Plant - 90mm
Briquetting Plant - 70mm
Biomass Pellets
Hammer Mill
Flash Dryer
Spare Parts
Technology
Contact
Briquetting Plants - 90mm
Home
/
Product
/
Briquetting Plants
Briquetting Plant JUMBO – 90
Technical Details For Jumbo - 90
Advantages Of Jumbo - 90
Saving in Power Consumption
Increase in Production
Low Maintenance cost
Suitable for all type of Raw Materials including Sugarcane Bagasse
Screw Conveyor
Easy Handling of Briquettes due to its large size
deal for Boiler and Fireman.
Processing Cycle Of Jumbo - 90
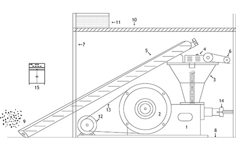
JUMBO – 90 Side Elevation With Backside Conveyer
Briquetting Press
Load Wheel
Kupy
Reduction Gear
Screw Conveyor
Electric Motor
Bricks Wall of Shade
Ground Flooring
Space for Raw Material
Open Terrace
Water Tank
Main Electric Motor
Flat Belt
Die Holder
Briquette Panel
Land Layout of Briquetting Plant
Briquetting Press (Foundation)
Shed for Briquetting Plant 30' x 40'
Reserved space for second Briquetting press
Cooling Line for Briquetting
Shed for Briquettes (Galvanized Roof – 40' x 40' Height – 16').
Entry Gate : (16' long)
Office building : Two Small Room 10' x 10'
Shed for Raw Material storage (Galvanized Roof – 60' x 40' Height – 16')
Compound Wall
Proposed Labor quarter (3 to 4 small rooms)
Conveyor for Raw Material Feeding
Raw Material
go Top